MAKİNE ÖĞRENMESİNDE PATENT UYGULAMALARI
Yakuphan ÖZTÜRK l 02 Eylül 2022
18. ve 19. yüzyıllarda buhar gücü ile çalışan makinelerin hayatımıza girmesi ile başlayan endüstri devrimi zamanla gelişmiş ve makineler yeni nesil yazılımlarla birlikte kullanılmaya başlanmıştır. Makinelerin yazılımlar ile bir arada çalışmasıyla üretim süresi ve maliyetin düşürülmesinin yanı sıra, üretim miktarının ve kalitenin arttırılması yönünde katkı sağlandığı da gözlemlenmektedir. Genel olarak, bilişim teknolojileri ile makinelerin bir arada oluşturduğu bu iş birliği Endüstri 4.0 (4. Sanayi Devrimi) olarak tanımlanmaktadır.
Bilişim teknolojileri ile makinelerin bir arada kullanılması; otonom araçların gelişmesine, kalıplara ihtiyaç duyulmadan üç boyutlu yazıcılar ile tasarımların ortaya çıkmasına ya da genom tanımlamalarında/tedavilerinde hız kazanılmasına katkı sağlamaktadır. Bu durum da birçok kaynaktan elde edilen verinin hızlı bir şekilde iletilmesi ve iletilen verinin güçlü algoritmalar ile hesaplanmasıyla sağlanmaktadır. Endüstri 4.0’ın bunu yapabilmesi için elde ettiği verilere göre öğrenen ve bu öğrendiklerine göre yeni çözümler sunan bir algoritmaya sahip olması gerekmektedir. Bir algoritmanın öğrenmesi ve yeni çözümler sunması ise bir yapay zekaya/makine öğrenmeye sahip olduğu şeklinde yorumlanabilir. (KOŞTI, G. (2020). SANAYİ 4.0 ve TEKNOLOJİ BİLEŞENLERİ. Journal of Business Innovation and Governance.)
Endüstri 4.0 kapsamında yapay zekanın endüstride kullanılmasının en temel nedenlerine bakarsak; yapay zeka/makine öğrenme verimliliği arttırmaktadır, var olan kapasiteyi büyütmektedir ve büyük sorulara çözüm üretmektedir. Peki bu kadar önemli özelliklere sahip olan yapay zeka ile ilgili buluşlar mevcut patent sisteminde korunabilir mi?
Her ülkede yapay zeka/makine öğrenme ile ilgili buluşlar farklı değerlendirilmektedir. Özellikle Avrupa Patent Ofisi (EPO) yapay zeka içeren buluşları değerlendirirken ilk olarak patentlenebilirlik kriterlerine bakarak konuyu incelemektedir. Bunun temel nedeni, yapay zeka içeren buluşların temel olarak zihinsel eylemleri gerçekleştirmeye yönelik bilgisayar programları, matematiksel yöntemler, algoritmalar ya da kuralları içerebilmesidir. Yapay zekanın sahip olduğu bu özellikler, Avrupa Patent Sözleşmesi (EPC) madde 52(2)(3)[1]’ye göre patentle korunamayacak olan soyut kavramlar içerisindedir, başka bir deyişle zihinsel eylemleri gerçekleştirmeye yönelik bilgisayar programları, matematiksel yöntemler, algoritmalar ya da kurallar patentlenebilir konular arasına girmemektedirler. Ancak söz konusu yapay zeka/makine öğrenme buluşları, bir algoritmaya ve yönteme sahip olduklarında, yani bir bilgisayar içerisinde çalıştırıldıklarında patentlenebilir konular arasına da girmektedirler. (EPO Guidelines G-II, 3.3.1. https://www.epo.org/law-practice/legal-texts/html/guidelines/e/g_ii_3_3_1.htm )
EPO yapay zeka/makine öğrenme içeren buluşları değerlendirirken ikinci olarak; EPC madde 52(1)’e göre yapay zeka ile ilgili olan buluşun teknik yollarla çözülen teknik bir soruna, teknik bir karakter ile çözüm üretip üretmediğini sorgulamaktadır. Yapay zeka/makine öğrenme içeren bir algoritma üzerinde koruma sağlamak için, tekniğin bilinen durumuna katkı sağlayan teknik karakterin bulunduğunu kanıtlamak gerekmektedir. Söz konusu teknik karakter, EPO Temyiz Kurulunun T258/03 sayılı kararına göre, bir varlığın fiziksel özelliklerinin veya (bir yöntem için) teknik araçların kullanımı olarak tanımlamaktadır. Sonuç olarak yapay zeka/makine öğrenme içeren algoritmik bir buluşun, yani yazılımın çözüm ürettiği sorunun teknik bir karakter içermesi gerekmektedir.
Bütün bunlar değerlendirildiğinde yapay zeka/makine öğrenme buluşlarının patent alması çok ince çizgilerle ayrılmakta ve her patent ofisi bu konuyu kendi içerisinde farklı değerlendirmektedir. EPO yapay zeka/makine öğrenme içeren bir buluşu ilk olarak patentlenebilir konular arasına girip girmediği yönünden değerlendirmekte, sonrasında yazılımın çözüm ürettiği sorunun teknik bir karakter içerip içermediğini incelemektedir.

EP3483719 numaralı buluşa ait şekil
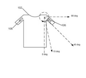
Örneğin, 08.02.2017 tarihinde başvurusu yapılmış ve Google firmasına ait olan EP3580672A1 numaralı patent dokümanı Amerika Birleşik Devleri, Güney Kore ve Çin’de patent ile korunmaktadır, ancak Avrupa Patent başvurusu 23.06.2022 tarihi itibariyle başvuru aşamasında görünmektedir. EP3580672A1 numaralı patent başvurusu, kullanıcının giymiş olduğu giysinin üzerinde bulunan sensörler aracılığıyla topladığı dataları bir makine öğrenme yöntemiyle geliştirerek bedensel verilerinin elde edilmesini sağlayan bir sistemle ilgilidir. Söz konusu EP3580672A1 bedensel verileri elde edebilmek için giysi üzerinde yer alan sensörler aracılığıyla dataları toplamakta ve bu datalara göre makine öğrenme yöntemiyle bir ergonomi hesaplamaktadır. Buluşun bağımsız isteminin Türkçe çevirisi aşağıdaki gibidir;
“Bir kullanıcıyla ilişkili ergonomik bir değerlendirme yapmaya yönelik bir bilgisayarla uygulanan bir yöntem olup, bu yöntem aşağıdakileri içerir:
- bir veya daha fazla bilgisayar cihazı tarafından, bir kullanıcı tarafından giyilen bir ergonomik değerlendirme giysisi ile uygulanan bir veya daha fazla sensörden sensör verilerinin alınması;
- bir veya daha fazla bilgisayar cihazı tarafından, en azından kısmen sensör verilerine dayanarak, kullanıcının en az bir vücut segmenti ile bağlantılı bedensel verilerin belirlenmesi,
- bir veya daha fazla bilgisayar cihazı tarafından kullanıcının en azından bir kısım vücut segmentiyle ilişkili, kullanıcının en az bir vücut segmentinin en az bir bükülme açısına dayanarak bir veya daha fazla ergonomik alanın bulgusunu içeren ergonomik değerlendirmenin belirlenmesi.”
EP3580672A1 numaralı buluşun istemi doğrultusunda araştırmayı yapan uzman;
- ilk olarak buluşun EPC madde 52(2)(3) doğrultusunda patentle korunamayacak olan soyut kavramlar arasına girip girmediğini değerlendirmektedir. EP3580672A1 numaralı buluşun bağımsız istemi içerisinde bilgisayarla uygulanan bir yöntem ve vücut giysileri olmasından dolayı buluşun bu haliyle patentlenebilir konular arasında olduğunu kabul etmektedir.
- Sonrasında EPC madde 52(1)’e göre yapay zeka ile ilgili olan buluşun teknik yollarla çözülen teknik bir sorunu olup olmadığını sorgulamaktadır. Araştırmayı yapan uzman, tekniğin bilinen durumunda, ergonomik verilerin bir giysi aracılığıyla elde edildiğini açıklayan bir makalenin olduğunu ve buluşun ergonomik bir değerlendirme yapılması özelliğinin farklı olduğunu belirlemiştir. Ancak farklı olan özelliğinin buluşa teknik bir katkı sağlamadığını, bu nedenle buluş basamağı içermediğini belirtmiştir.

EP3483719 numaralı buluşa ait şekil
Bu konu ile ilgili diğer bir örnek ise, 08.11.2017’de başvurusu yapılan, Ricoh firmasına ait olan EP3483719 numaralı patenttir. Söz konusu patentin belge kararı 26.01.2022 tarihinde yayınlanmıştır. EP3483719 numaralı buluş, çok başlığa sahip yazıcıların performans kalitesinin belirlenmesinde insan faktöründen kaynaklanan hatalı ölçümlerin engellendiği ve aldığı veriler doğrultusunda baskı performansının arttırıldığı bir yazıcı sistemini açıklamaktadır. EP3483719 numaralı buluşta yazıcıların kullanmış olduğu mürekkep miktarı ve nozzle hareketlerinden datalar toplanmakta ve toplanan datalar bir makine öğrenmesi kullanılarak performansı iyileştirici bir yazıcı elde edilmeye çalışılmaktadır. Buluşun bağımsız isteminin Türkçe çevirisi aşağıdaki gibidir;
“Aşağıdakileri içeren bir baskı sistemi (100): aşağıdakiler dahil olmak üzere yazdırma performansı tahmin mantığını depolamak için yapılandırılmış bir bellek (104): bir tahmin modeli (204); tahmin modelini (204) eğitmek için yapılandırılmış bir eğitim modülü (205); yazdırma işi meta verilerini alacak şekilde yapılandırılmış mantık; ve bir yazıcının (130) konfigürasyon kriterlerini almak üzere konfigüre edilmiş bir parametre toplama modülü (203); ve tahmin modelini (204), yazdırma işi meta verilerini almak için mantığı, bir yazdırma sisteminin konfigürasyon kriterlerini almak için parametre toplama modülünü (203) ve eğitim modülünü (205) yürütmek üzere yapılandırılmış bir veya daha fazla işlemci (102) ve yazıcıyı (130) simüle etmek için yazıcının (130) ilk işleme performans ölçümlerini tahmin etmek için tahmin modeli (204) yazdırma işi meta verilerine ve konfigürasyon kriterlerine dayalı olarak; burada bellek (104) ayrıca bir içerik edinme modülünü (201) ve meta veri çıkarma mantığını (202) depolamak üzere yapılandırılır, burada bir veya daha fazla işlemci (102), yazdırma işini almak üzere içerik toplama modülünü (201) yürütmek üzere yapılandırılır, verileri ve alınan yazdırma işi verilerinden yazdırma işi meta verilerini çıkarmak için meta veri çıkarma mantığını (202) yürütün; burada parametre edinme modülü (203), yazıcı (130) için bir veya daha fazla baskı performansı gereksinimlerini alacak şekilde yapılandırılır ve tahmin modeli (204), birinci işleme performansı ölçümlerinin baskı performansı gereksinimlerini karşılayıp karşılamadığını belirlemek için yapılandırılır;
şu şekilde karakterize edilir:
tahmin modeli (204) yazıcı (130) için en uygun konfigürasyonu seçmek üzere yapılandırılır;
burada en uygun konfigürasyon, baskı performansı gereksinimlerini karşılar ve seçim, performans gereksinimleri için bir ağırlıklandırma algoritması kullanan ilk işleme performansı ölçümlerine dayanır.
EP3483719 numaralı buluşun istemi doğrultusunda araştırmayı yapan uzman;
- ilk olarak buluşun EPC madde 52(2)(3) doğrultusunda patentle korunamayacak olan soyut kavramlar arasına girip girmediğini değerlendirmektedir. EP3483719 numaralı buluşun bağımsız istemi içerisinde bilgisayarla uygulanan bir yöntem içermesinden dolayı, buluşun bu haliyle patentlenebilir konular arasında olduğunu kabul etmektedir.
- Sonrasında EPC madde 52(1)’e göre yapay zeka ile ilgili olan buluşun teknik yollarla çözülen teknik bir sorunu olup olmadığını sorgulamaktadır. Araştırmayı yapan uzman tekniğin bilinen durumunda baskı verilerinin toplanması için bir bellek ve işlemcinin kullanıldığı bir dokümana ulaşmış ve buluşun “uygun konfigürasyon, baskı performansı gereksinimlerini karşılar ve performans gereksinimleri için bir ağırlıklandırma algoritması kullanılması” özelliğinin farklı olduğunu belirlemiştir. Söz konusu farkın, teknik bir soruna çözüm üretmek için teknik bir etki yarattığını düşündüğünden dolayı buluşun patentlenebilir olduğunu düşünmüştür.
Açıklanan örneklerde de gözlemlendiği üzere yapay zeka/makine öğrenmesi içeren buluşların patentlenebilmesi için ilk olarak EPC madde 52(2)(3) doğrultusunda patentle korunamayacak buluşlar arasına girip girmediği, daha sonrasında EPC madde 52(1)’e göre yapay zeka ile ilgili olan buluşun teknik yollarla çözülen teknik bir sorunun olup olmadığı değerlendirilmektedir. Sonuç olarak, tekniğin bilinen durumundaki dokümanlardan en temel farkının makine öğrenmesi olduğu buluşlarda, makine öğrenmesinin sorunu çözmede buluşa kattığı teknik etkinin buluşun patentlenebilirliğinde önemli bir rol aldığı gözlemlenmektedir.
[1] Article 52 (1) European patents shall be granted for any inventions, in all fields of technology, provided that they are new, involve an inventive step and are susceptible of industrial application.
Article 52 (2) The following in particular shall not be regarded as inventions within the meaning of paragraph 1:
- discoveries, scientific theories and mathematical methods;
(b) aesthetic creations;
(c) schemes, rules and methods for performing mental acts, playing games or doing business, and programs for computers;
(d) presentations of information.
Article 52 (3) Paragraph 2 shall exclude the patentability of the subject-matter or activities referred to therein only to the extent to which a European patent application or European patent relates to such subject-matter or activities as such.





